中药煎药机的包装卷安装是非常关键的一个操作步骤,不少客户认为只要将包装卷装上去,能够进行包装走卷就行了,可是我们在使用过程中如果包装卷安装不正常,往往会引起包装不严、包装袋漏液、绞带、封边不齐的现象,对于这类情况我们就首先要检查包装卷的安装是否正确,在确定煎药包装机安全正确的前提下再去检查煎药机是否有问题。
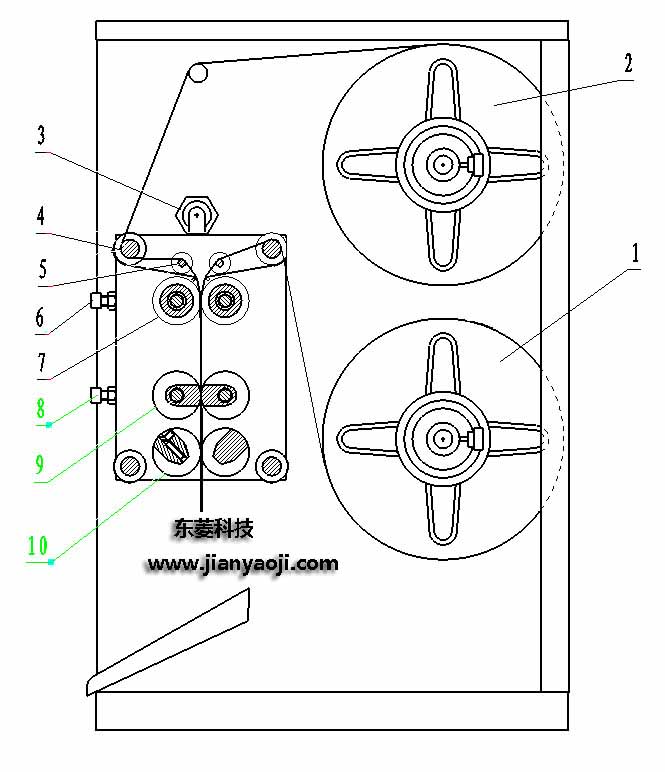
(1)打开PE卷盒盖,先将两个塑料夹分别装到上、下两根芯轴杆上;
(2) 两卷PE卷分别装在上、下芯轴杆上。上卷按逆时针转动方向安装,下卷按顺时针转动方向安装;
(3) 另两个塑料夹分别装在上、下芯轴上,紧贴包装卷;
(4)装上压力弹簧,用挡环分别将其紧固,注意不要压的太紧;
(5)将两个包装卷拉出,通过左、右导膜杆,同时引入到上辊轴中间,见图2;微压循环煎药机

(6)待封合温度稳定后按压“走卷”键,使用改锥或类似小棒类工具,将包装膜准确地引入到下辊轴之中;
(7)待PE卷通过机头所有辊轴,完整切断一袋,关闭走卷,装卷工作结束。